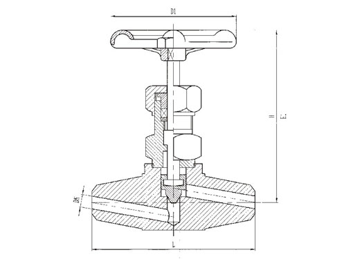
# YAYAKING Needle Valve J24W-160/320 DN3,DN6 Stainless Steel/Carbone Steel,High Pressure Globe Valve
# YAYAKING Needle Valve J19H-160-DN6 High Pressure Globe Valve